На каком расстоянии закручивать саморезы в гипсокартон. Особенности монтажа
- На каком расстоянии закручивать саморезы в гипсокартон. Особенности монтажа
- Гипсокартон к стене на саморезы. Саморезы — редкие гости
- Шаг саморезов гипсокартон кнауф. Каркасное крепление гипсокартона
- Как закручивать саморезы в гипсокартон. Правила применения крепежа
- Расстояние между саморезами в гипсокартоне на потолке. Монтаж непосредственно на потолок
- Саморез в гипсокартон без дюбеля. Виды
- Шаг саморезов гвл. Шаг саморезов в ходе выполнении различных операций с гипсокартоном
На каком расстоянии закручивать саморезы в гипсокартон. Особенности монтажа
Как уже упоминалось выше, процесс монтажа ГКЛ листов несложный. Главное, это все делать правильно и внимательно. Но перед тем как перейти к соединению металлического профиля из листа с материалом, необходимо воссоздать чертеж и план. Благодаря им установка материала пройдет правильно и все крепежные элементы с листами соединяться плотно.
Первым делом необходимо понять, каким будет размер будущей конструкции. С учетом этих габаритов выполнить план. Если будет вестись только монтаж гипсокартона на стене, то в плане изобразить основу, на которой будет держаться материал.
Каркас будет содержать 4 опорные планки. Они должны быть расположены в каждом углу конструкции. Придать каркасу устойчивость можно, если следить за расстоянием между планками. Оно должно быть одинаковым. Кроме этого, они обязаны быть расположены не на самом крае гипсокартонного листа, иначе это может его повредить. Именно процесс размещения планок с соблюдением правильного расстояния является самым сложным и трудоемким. Оставшаяся работа пойдет проще и быстрее.
Как подобрать финишную шпаклевку гипсокартона под обои и на что следует обращать внимание, подробно рассказывается в данной статье.
Как происходит шпаклевка стен из гипсокартона под обои и какой инструмент для этого необходим, подробно рассказывается в содержании статьи.
А вот что лучше использовать в строительстве, штукатурку или гипсокартон, поможет с выбором данная информация: https://resforbuild.ru/sypuchie-materialy/shtukaturka/ili-gipsokarton-chto-luchshe.html
Какой клей для швов гипсокартона лучше всего использовать и как это делать правильно, указано в данной статье.
Гипсокартонные листы монтируются к профилю при помощи саморезов по металлу, длина которых 25 мм. Расстояние между крепежными элементами не должно превышать 20 мм. Вначале материал монтируется по периметру, а после к остальным элементам каркаса. Это же относится к каркасам из гипсокартонных листов и различных ниш, полок.
На
В этом деле важная роль отведена правильному закручиванию крепежного элемента. Глубина врезания самореза не должна быть вше 1 мм. Если это не так, то можно повредить лист ГКЛ и не добиться полноценного крепления. Вставить ограничение на шуруповерте. Если по каким-то причинам крепежный элемент был внедрен более, чем на 1 мм, то его предстоит выкрутить и закрутить на расстоянии 50 мм от старого отверстия, которое в дальнейшем заделывают при помощи шпаклевки.
При стыковке разных листов между собой необходимо позаботиться про незначительный зазор между ними. Для этого вполне будет достаточно 2-3 мм. В ходе нанесения шпаклевки это значительно упростит задачу выравнивая шва.
Возможно вам так же будет интересно узнать о том, где используется дюбель гвоздь бабочка для гипсокартона.
А вот какие саморезы стоит использовать для гипсокартона и как сделать правильный выбор. поможет понять информация с фото в данной статье.
Так же будет интересно узнать о тмом, как с помощью гипсокартона и саморезов к нему сделать потолочный короб с подсветкой. Вся информация с фото подробно изложена в данной статье.
А вот какие саморезы для крепления профиля под гипсокартон используются чаще всего, можно понять если перейти по ссылке и прочесть информацию.
Гипсокартон к стене на саморезы. Саморезы — редкие гости
Такой метод может быть рекомендован, если другого выхода нет. Например, когда материал для отделки — керамическая плита — не желает дружить с деревянной поверхностью стен. Саморезы — лучший вариант, так как крепить гипсокартон к стене без профиля в этом случае легко и не слишком затратно.

Листы гипсокартона прикладывают к стене, выставляют по вертикали, намечают отверстия. Их порядок произволен – шахматный либо по периметру и центру. Затем перфоратором пробивают отверстия под дюбеля, лист убирают, вставляют шканты. Снова прикладывают гипсокартон, в отверстия вкручивают саморезы, имеющие широкие шляпки, утапливают их. Если «широкополых» элементов в хозяйстве нет, используют шайбы.
Заканчивают любой вид работы грунтованием, шпаклевкой швов и отверстий от винтов. На стыки с незастывшей шпаклевкой рекомендуют наклеивать серпянку, затем притапливать ее.
Как крепить гипсокартон к стене без профиля — тема, требующая опыта. Набраться его можно самостоятельно, но лучше сначала посмотреть на процесс со стороны. Например, в этом
Была ли статья полезна?
Мы хотим стать лучше. Спасибо за мнение!
Шаг саморезов гипсокартон кнауф. Каркасное крепление гипсокартона
Установка каркаса для гипсокартона применяется намного чаще, такой способ считается одним из лучших, обеспечивающих отличное качество выполнения работ. Среди преимуществ использования металлических профилей следует отметить:
- улучшение тепло- и звукоизоляции;
- возможность выровнять даже очень кривые стены и потолки;
- перед началом выполнения работ нет необходимости в тщательной подготовке поверхности;
- использовать профиль для каркаса можно даже для промерзающих стен;
- под каркасом можно проводить коммуникационные и инженерные сети, ставить дополнительный слой утеплителя.

Подробная схема установки каркасса.
Сам способ заключается в следующем: сначала монтируется каркас из металлических специальных профилей (можно применять и обычные деревянные бруски), после этого саморезами к стойкам прикручиваются сами гипсокартонные листы.
Рассмотрим, как монтировать материал таким образом, более подробно. Правильный монтаж начинается с выполнения разметки на поверхности стен либо потолка при помощи строительного уровня, отвеса, карандаша. Это позволяет определить положение каркаса, разметить все места креплений.
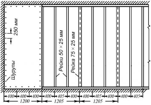
После установки всех профилей можно провести инженерные сети, при необходимости утеплить поверхность стен и потолка минеральной ватой. Для крепления гипсокартона к профилю применяются саморезы, все стыки плит должны приходиться только на поверхность стоек. При креплении соблюдаются такие особенности: саморезы применяются с длиной в 25 мм, шляпки их должны углубляться в материал примерно на 1-2 мм. Под каждым стыком обязательно наличие несущих профилей, которые следует закреплять одноуровневыми соединителями, то есть крабами.
Использование профилей в качестве каркаса позволяет обеспечить многочисленные преимущества, включая отсутствие подготовительных, дорогостоящих работ по выравниванию стен.
Как закручивать саморезы в гипсокартон. Правила применения крепежа
Перед выбором длины самореза измеряют толщину соединяемых элементов.
Существует универсальное правило для выбора такого вида крепежа: он обязан обладать такой длиной, чтобы пройти насквозь прикрепляемую деталь и заглубиться в основание не меньше, чем на 1/3 толщины элемента каркаса.
Например, длина самореза, скрепляющего лист ГКЛ 12.5 мм и брус 40 мм должен быть не меньше 12.5 + 40х1/3 = 25.8мм, но и не больше 30 мм.
Расстояние между саморезами для гипсокартона на металлокаркасе должно быть не более 25 мм, а на деревянном не более 30 мм.
Советы при использовании саморезов при установке перегородки из ГКЛ:
- Толщина саморезов учитывают, если соединение происходит близко к краю ГКЛ или исполнитель использует пересушенный деревянный брус. В этом случае высокая вероятность образования трещины вдоль волокон. Для того чтобы избежать повреждений каркаса лучше предварительно высверливают отверстие тоненьким сверлом.
- Деревянные элементы конструкции лучше притягиваются друг к другу, когда на основе самореза под шляпкой имеется гладкая часть без резьбы.
- Для соединений элементов конструкции из металлопрофиля прежде всего выполняют разметку точек монтажа крепежа. Ее намечают тоненьким сверлом в нужной точке.
- Пока саморез не будет нарезать бороздку и не примет устойчивое положение, ввинчивание выполняют на наименьшей скорости шуруповерта. После этого скорость увеличивают, а когда шляпка приблизится к поверхности, скорость опять снижают до минимальной.
Расстояние между саморезами в гипсокартоне на потолке. Монтаж непосредственно на потолок
Подшивка гипсокартона непосредственно к потолку в деревянном доме может осуществляться только при условии наличия сплошного щита из необрезной либо обрезной доски, ОСП, фанеры, которые крепятся к балкам снизу. Чтобы понять, как крепить гипсокартон к деревянному потолку, рекомендуется ознакомиться с такой технологией монтажа.
Первым делом необходимо проверить потолок на наличие существенных отклонений от горизонта, а также на предмет выступов, остальных дефектов. Если таковых не выявлено, то можно прикручивать плиты к дереву, не оставляя никаких зазоров и не используя обрешетки.
Чтобы закрепить отделочный материал, нужно использовать фосфатированные саморезы длиной 32-51 мм. Длина крепежных элементов определяется материалом потолочного щита. Их необходимо утапливать в поверхность плиты на один миллиметр, не более. Устанавливать ГКЛ правильнее в шахматном порядке, этот прием позволит избежать схождения углов смежных плит в одном месте.
Толщину плит следует выбирать, исходя из качества поверхности щита, к которому будет прикручиваться отделочный материал.
Если дощатый щит изготовлен из обрезной доски, то применяется стеновой ГКЛ с толщиной 12,5 мм, а для щита из фанеры или СИП-панелей – потолочные плиты с толщиной 9 мм.
Саморез в гипсокартон без дюбеля. Виды
Технически крепеж для гипсокартона адаптируют таким образом, чтобы получить систему, которая максимально равномерно распределяет нагрузку, а также неспособна под высокими нагрузками разрушить изделие. Метизы для работы с гипсокартоном отличаются несколькими техническими характеристиками. Но в большинстве случаев здесь используют классические шурупы, которыми скрепляют дерево или металл. Условно разделить подобные системы можно на саморезы и дюбели. Они являются независимыми элементами, но часто совмещаются для создания прочного соединения. Крепить гипсокартонный лист или работать с ним можно помощью нескольких видов саморезов.


Tn
Этот класс саморезов является самым распространенным. Такие изделия представляют собой обычные крепежи, которые используют для работы с деревом или металлом. Отличаются они только шагом резьбы и цветом. Системы в большинстве случаев дополняются классическими пластиковыми дюбелями. Использовать их рекомендовано в тех случаях, когда лист гипсокартона фиксируют к деревянному или бетонному основанию. В большинстве случаев это предполагает обшивку стен или потолка.

Lb
Данные изделия отличаются небольшой длиной. В большинстве случаев такой крепеж используют для скрепления металлического профиля, из которого формируется вся гипсокартонная система. Отличительной особенностью изделия является наличие своеобразного сверла на конце самореза. Поэтому сверлить дырки под них в металле не нужно, так как они хорошо сами разрушают данный материал.

Ln
Саморезы данного класса применяют для скрепления металлических деталей, из которых формируют каркас. Они имеют небольшие размеры, наконечник у этих изделий острый. Поэтому специалисты рекомендуют сшивать с помощью ввертышей металлопрофиль с толщиной листа не больше 1,2 мм. В другом случае эти изделия будут не эффективными.

Что касается дюбелей, то они также бывают нескольких типов.
Бабочка
Данный крепежный элемент используется для фиксации изделий с небольшим весом непосредственно на поверхности из гипсокартона (например, светильники, картины). Изготавливают бабочки из специальных видов полипропилена. Технические размеры дюбеля могут быть различными. Особенностью этого изделия является наличие открывающихся элементов. При вкручивании самореза дюбель сжимается, образуя дополнительную плоскость.

Дрива
Дюбель такого рода напоминает саморез, так как на его внешней поверхности присутствуют самонарезающие элементы. Это позволяет значительно ускорить монтаж подобных конструкций. Изготавливают их из пластика и металла. Используют этот дюбель для фиксации гипсокартона к основанию.

Молли
Принцип работы данного дюбеля похож на разновидность-бабочку. Ввертывающийся шуруп заставляет сжиматься каркас, образуя дополнительную опору. Отличительной особенностью такого крепежа является тот факт, что изготавливают его из металла. Поэтому молли способен выдерживать довольно высокие нагрузки.

Дюбель-гвозди
Этот вид фиксаторов является самым распространенным. Это классический дюбель, который для фиксации вбивают в ранее просверленное отверстие. Наличие специальных разжимов не позволяет ему выскользнуть из отверстия. Чтобы получить надежную фиксацию, диаметр отверстия должен быть меньше, чем соответствующий размер дюбеля. В другом случае конструкция легко выйдет из паза.
Крепление люстр и других подобных подвесных систем в большинстве случаев производят к основному потолку. Если нужно зафиксировать не слишком тяжелый светильник, применяют специальные анкера. Они оснащены резьбой и дополняются различными видами дюбелей. Технически их можно считать разновидностью саморезов. Часто при монтаже гипсокартонных систем используют металлические вспомогательные конструкции (например, скользящий уголок). Они в своем роде также являются крепежами, но для их фиксации к гипсокартону используют практически всегда ранее описанные виды метизов.

Шаг саморезов гвл. Шаг саморезов в ходе выполнении различных операций с гипсокартоном
Следует понимать, что чрезмерная частота установки крепежа может обусловить повышенную хрупкость этого материала. Если же крепеж установлен чересчур редко, под вопросом может оказаться надежность фиксации гипсокартонных листов. Исходить надо из того, что шаг саморезов должен соответствовать тому виду отделки, который выполняется с использованием гипсокартона.
Если вы задумали установить в своей квартире арку из гипсокартона, обязательно почитайте вот эту статью, в которой мы описываем порядок выполнения всех необходимых при ее изготовлении операций.
Чтобы никогда не совершать ошибок в вопросе выбора шага саморезов, достаточно знать и помнить 3 следующих числа:
- 10 см – это величина минимально допустимого шага. Несоблюдение этого предела может стать причиной ослабления прикромочной области листа, которая в результате может просто-напросто раскрошиться;
- 20-40 см – такого шага следует придерживаться, крепя гипсокартон на стены. Правда, если на закрепленные листы затем планируется клеить плитку, то для повышения надежности шаг необходимо уменьшить и сделать равным 10-15 см;
- 10-15 см – таков шаг саморезов, используемых для фиксации гипсокартона на потолке.
Вот и все премудрости, которых вам следует придерживаться, выбирая шаг саморезов в ходе крепления листов гипсокартона. Знание этих цифр поможет вам создавать гарантированно надежные конструкции и избежать неприятностей, вызванных дефектами фиксации.
В крайне редких случаях, проводя ремонт с использованием ГКЛ, можно обойтись без саморезов. Если же используется каркас из металлических профилей, то самонарезающие винты используются в обязательном порядке. Они могут не только фиксировать ГКЛ, но и сами профили, которые являются частью обшиваемого каркаса. Шаг саморезов при креплении гипсокартона влияет не только на качество крепления данного строительного материала.