Как вкручивать саморезы в гипсокартон. Размеры саморезов
- Как вкручивать саморезы в гипсокартон. Размеры саморезов
- Дюбель саморез для гипсокартона. В процессе крепления предметов к обшивкам из гкл нужно помнить, что дюбели вставляют только в очищенные от пыли и крошки отверстия
- Шаг крепления гипсокартона на потолке. Варианты выполнения несущего каркаса
- Саморез в гипсокартон без дюбеля. Применение
- Держится ли саморез в гипсокартоне. Правила применения крепежа
- Шаг саморезов гипсокартон кнауф. Каркасное крепление гипсокартона
- Как часто крутить саморезы в гипсокартон. На каком расстоянии закручивать саморезы в гипсокартон
- Введение в в опрос: что такое гипсокартон?
- Какие саморезы необходимо использовать для крепления гипсокартона?
- Многие задаются вопросом какое же расстояние должно быть между саморезами при обшивке каркаса гипсокартоном?
- Как правильно закручивать саморез через гипсокартон?
- Монтаж гипсокартона
- Монтаж гипсокартона
- Монтаж гипсокартона. Облицовка С623
- Расстояние между саморезами в гипсокартоне на потолке. Монтаж непосредственно на потолок
Как вкручивать саморезы в гипсокартон. Размеры саморезов
Основные размеры саморезов для гипсокартона:
- Саморезы для гипсокартона могут быть разными по длине, ширине и толщине. Размеры длины и других параметров определяются по толщине листов, сложности гипсокартонных конструкций, которые будут фиксировать в пространство потолков и стен. Разнообразие задач, которые поставлены перед владельцем недвижимости влияет на вопрос, как закрутить саморез в гипсокартонном листе и какой должен быть размер крепежей для качественного монтажа конструкции?
Размеры саморезов для крепления гипсокартонных плит
Иногда длина определяется путем анализа толщины листов. Если нужно зафиксировать несколько ГКЛ, то нужно вкручивать саморезы большей длины.
- Стоит понимать расшифровку маркировки саморезов. Если на них написано 4,5х75, то это означает, что у самореза диаметр составляет 4,5 мм, а длина 75 мм.
- Рассчитать длину и диаметр саморезов, которые нужно купить, следует перед тем, как крепить гипсокартон к стене. Сделать это несложно, определиться с длиной самореза можно, отталкиваясь от толщины листа, в который вы будете закручивать крепежные элементы. Стоит учесть зазор, который обязателен, ведь саморез должен соединить ГКЛ со стеной или же поверхностью потолка. Таким образом, можно определить длину крепежа для каркаса и монтажа гипсокартона.
Существующие размеры саморезов для крепления гипсокартона - Важно учесть расстояние между саморезами при креплении гипсокартона к потолку. Это поможет определить максимально подходящую толщину саморезов по металлу или дереву. Толщина креплений зависит от того, на какой поверхности человек планирует установку. Если речь идет про гипсокартон без каркаса, то длина саморезов, конечно же, будет меньше. Если же с помощью шагов саморезов будут крепить каркас и прикручивать гипсокартон поверх него, то саморезы нужно выбирать толще и длиннее.
Дюбель саморез для гипсокартона. В процессе крепления предметов к обшивкам из гкл нужно помнить, что дюбели вставляют только в очищенные от пыли и крошки отверстия
Украсить стену картиной , декоративной тарелкой, маской или иным элементом массой до 3 кг поможет обычный шуруп для гипсокартона без дюбеля.
Для предметов средней тяжести (зеркал, небольших полок, крупных картин в массивных рамах, вешалок) подойдёт пластиковый или металлический шнековый дюбель либо дюбель «Дрива». Его вворачивают в ГКЛ отвёрткой или шуруповёртом, а затем вкручивают саморез. Крепёж со шнековым дюбелем выдерживает нагрузку до 6 кг при однослойной обшивке из гипсокартона и до 15 кг — при двухслойной. Цена набора (6 шт.) шнековых дюбелей (длина 39 мм) из армированного стекловолокном нейлона в комплекте с шурупами — от 32 руб.
Во многих случаях выгоднее возвести лёгкие межкомнатные перегородки из каркаса, с двух сторон обшитого гипсокартонными листами, чем соорудить конструкции из кирпича или бетонных блоков. Скорость их монтажа выше, а масса — меньше. К тому же при необходимости такие перегородки можно быстро и легко демонтировать. Облицовка стен листами гипсокартона позволяет нивелировать значительные неровности, а также обойтись без «мокрых» процессов, связанных с использованием кладочных и штукатурных растворов. А пустое пространство за обшивкой несложно заполнить изоляционным материалом, улучшив звуко- и теплоизоляцию помещения.
С более внушительными по массе предметами и нагрузкой до 10 кг при одном слое гипсокартона и до 25 кг при двух справится крепёж с дюбелем «бабочка». Он назван так благодаря боковымэлементам, которые раскрываются, как крылья, во время вворачивания шурупа в пластиковую гильзу и прижимают её к листу гипсокартона с обратной стороны, крепко фиксируя навешиваемое изделие. Цена набора (4 шт.) дюбелей «бабочка» 10 × 50 мм из полипропилена — от 13 руб.
Шаг крепления гипсокартона на потолке. Варианты выполнения несущего каркаса
Работа с гипсокартонными плитами подразумевает три варианта крепления плит к основанию:
- при помощи клеевых составов;
- на деревянный каркас;
- на металлический профиль.
Каждый из способов имеет свои достоинства, но годится лишь для определенных условий.
Монтаж при помощи клея меньше всего уменьшает высоту помещения, но требует, чтобы потолочная поверхность имела высокую прочность и ровность. При помощи клея устраняются неровности не более 1 – 1,5 см. На оштукатуренные потолки монтировать плиты клеевым способом нельзя, поскольку ГКЛ имеет приличный вес и способен оторваться вместе со штукатуркой. Также при таком монтаже невозможно установить точечные светильники.
Деревянный каркас для крепления гипсокартона к потолку пригоден только в помещениях с маленькой площадью и постоянной температурой и низкой влажностью. Древесина очень сильно меняет линейные размеры при колебаниях температуры и влажности, поэтому с большой долей вероятности смонтированный потолок покроется трещинами.

Выполнять каркас лучше всего из металлических профилей — это более легкий материал, с которым можно делать многоуровневые потолки из гипсокартона.
Гораздо лучше прикрепить гипсокартон к потолку с применением специальных металлических профилей, которые позволяют оформить многоуровневые поверхности на любой высоте от перекрытия. Прочность, легкость и простота крепления выводят металлический профиль на ведущие позиции среди материалов для выполнения несущих каркасов.
Саморез в гипсокартон без дюбеля. Применение
Саморез по бетону применяется, чтобы прикрепить металлические, пластиковые, деревянные и бетонные конструкции. На саморез без сверления можно повесить различные изделия или осуществить небольшой ремонт в помещении с использованием этих деталей для образования соединения.
Если применять такие крепежи в бетон тяжелого состава, то необходимо провести дополнительную подготовку намеченного места, до того как вставить шуруп. В легкий бетон можно без дюбеля закрутить саморез. Специальное сверло нужно выбрать для тяжелого бетона.
Как пользоваться крепежом на плотных основаниях
Чтобы шурупы по бетону вкрутить в плотные основания, на поверхности стены сверлится отверстие, размер которого подбирается с учетом параметров крепежа. Размер отверстия должен быть на несколько мм больше, чтобы не позволить скопиться бетону. Важно при вкручивании данного крепежного элемента следить за тем, чтобы ось не отклонилась. Крепеж должен ввинчиваться на низких оборотах.
Если нет специального оборудования, то подойдет любое сверло, главное, подобрать необходимый размер и использовать молоток. Для этого сверло устанавливают перпендикулярно шляпке и при помощи молотка постепенно забивают, каждый раз сверло поворачивают по часовой стрелке.
Как вкрутить саморез без сверления
Не каждый строитель знает, как вкрутить саморез в бетон без сверления. Сверлить дрелью отверстие в стенах из керамзитобетона или газобетона нет необходимости. Так же, как и не требуется дополнительно подготовленное отверстие.
Для монтажа в такие стены часто используются шурупы с дюбелем. Уплотнитель делают из целлофана, капрона и полипропилена. Когда крепеж вкручивается, материал начинает расслаиваться и плотно контактирует со стеной.
Но такой вид крепления нуждается в подготовленном отверстии с помощью дрели, сверло которого подбирается с учетом уплотнителя. Шуруп же можно вкрутить при помощи стандартной отвертки.
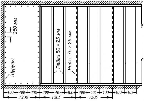
Держится ли саморез в гипсокартоне. Правила применения крепежа
Перед выбором длины самореза измеряют толщину соединяемых элементов.
Существует универсальное правило для выбора такого вида крепежа: он обязан обладать такой длиной, чтобы пройти насквозь прикрепляемую деталь и заглубиться в основание не меньше, чем на 1/3 толщины элемента каркаса.
Например, длина самореза, скрепляющего лист ГКЛ 12.5 мм и брус 40 мм должен быть не меньше 12.5 + 40х1/3 = 25.8мм, но и не больше 30 мм.
Расстояние между саморезами для гипсокартона на металлокаркасе должно быть не более 25 мм, а на деревянном не более 30 мм.
Советы при использовании саморезов при установке перегородки из ГКЛ:
- Толщина саморезов учитывают, если соединение происходит близко к краю ГКЛ или исполнитель использует пересушенный деревянный брус. В этом случае высокая вероятность образования трещины вдоль волокон. Для того чтобы избежать повреждений каркаса лучше предварительно высверливают отверстие тоненьким сверлом.
- Деревянные элементы конструкции лучше притягиваются друг к другу, когда на основе самореза под шляпкой имеется гладкая часть без резьбы.
- Для соединений элементов конструкции из металлопрофиля прежде всего выполняют разметку точек монтажа крепежа. Ее намечают тоненьким сверлом в нужной точке.
- Пока саморез не будет нарезать бороздку и не примет устойчивое положение, ввинчивание выполняют на наименьшей скорости шуруповерта. После этого скорость увеличивают, а когда шляпка приблизится к поверхности, скорость опять снижают до минимальной.
Шаг саморезов гипсокартон кнауф. Каркасное крепление гипсокартона
Установка каркаса для гипсокартона применяется намного чаще, такой способ считается одним из лучших, обеспечивающих отличное качество выполнения работ. Среди преимуществ использования металлических профилей следует отметить:
- улучшение тепло- и звукоизоляции;
- возможность выровнять даже очень кривые стены и потолки;
- перед началом выполнения работ нет необходимости в тщательной подготовке поверхности;
- использовать профиль для каркаса можно даже для промерзающих стен;
- под каркасом можно проводить коммуникационные и инженерные сети, ставить дополнительный слой утеплителя.

Подробная схема установки каркасса.
Сам способ заключается в следующем: сначала монтируется каркас из металлических специальных профилей (можно применять и обычные деревянные бруски), после этого саморезами к стойкам прикручиваются сами гипсокартонные листы.
Рассмотрим, как монтировать материал таким образом, более подробно. Правильный монтаж начинается с выполнения разметки на поверхности стен либо потолка при помощи строительного уровня, отвеса, карандаша. Это позволяет определить положение каркаса, разметить все места креплений.
После установки всех профилей можно провести инженерные сети, при необходимости утеплить поверхность стен и потолка минеральной ватой. Для крепления гипсокартона к профилю применяются саморезы, все стыки плит должны приходиться только на поверхность стоек. При креплении соблюдаются такие особенности: саморезы применяются с длиной в 25 мм, шляпки их должны углубляться в материал примерно на 1-2 мм. Под каждым стыком обязательно наличие несущих профилей, которые следует закреплять одноуровневыми соединителями, то есть крабами.
Использование профилей в качестве каркаса позволяет обеспечить многочисленные преимущества, включая отсутствие подготовительных, дорогостоящих работ по выравниванию стен.
Как часто крутить саморезы в гипсокартон. На каком расстоянии закручивать саморезы в гипсокартон
Часто при ремонте с целью быстро выровнить стены или необходимостью создать перегородку используется в работе гипсокартон.
Введение в в опрос: что такое гипсокартон?
Гипсокартон – универсальный материал, который повсеместно используется в строительстве. С помощью гипсокартона можно быстро видоизменить жилое помещение, поставить перегородки, выровнять потолки и стены.
При этом затраты на строительные работы будут минимальные, так как стоимость данного материала невысока, однако, если не соблюдать технологию крепления гипсокартона, можно испортить весь ремонт.
Для начала разберемся, каким типы существуют:
- стеновой — ширина варьируется в пределах 10 – 12 мм;
- потолочный — ширина составляет 6 – 8 мм и является самым тонким и легким из всех видов гипсокартона.
То есть в зависимости, где будут производиться работы, соответствующий тип гипсокартона и необходимо подбирать. Как резюме: все виды отличаются только шириной листа.
Самый распространённый в виду доли приходящегося на него объема работ – стеновой. Им выравнивают стены, делают перегородки любой сложности.
Какие саморезы необходимо использовать для крепления гипсокартона?

Здесь надо выделить для себя некоторые правила "Как подобрать правильно саморез":
- саморез должен выходить из листа гипсокартона примерно на 1 см;
- саморез выбирают в зависимости от рабочего материала, в который его вкручивают. Если дерево – саморез для дерева, если металл – саморез для металла.
Многие задаются вопросом какое же расстояние должно быть между саморезами при обшивке каркаса гипсокартоном?
В основном, это зависит от вида выбранного гипсокартона, но принята норма15- 20 см — оптимальное расстояние для обшивки. То есть на1 м кв. гипсокартонанеобходимо использовать13- 18 штуксаморезов. Этот примерный расчет позволит определить оптимальный расход саморезов на необходимую площадь обшивки.
Саморезы лучше использовать, изготовленные из латуни, так как такой крепеж не подвержен воздействию коррозии, или стальные — они намного крепче латунных, но к сожалению, подвергаются коррозии. Выбирая саморез, не забывайте обратить внимание на его головку: она должна быть с крестообразным шлицем для легкого ввинчивания в материал.
Как правильно закручивать саморез через гипсокартон?

Для крепления крепежных материалов к гипсокартону используют шуруповерт и несколько насадок. Очень важно правильная технология закручивания самореза. Необходимо вкручивать саморез на глубину, не превышающую 1 мм, чтобы не повредить картон и не испортить крепеж. Шуруповерт должен быть с установленным на нем ограничением. Если же саморез вошел дальше и материал испорчен необходимо аккуратно извлечь крепеж, зашпаклевать и выровнять поверхность не оставляя следов, а саморез закрутить заново отступив примерно 5 см от предыдущего ввинчивания.
Если крепление происходит к деревянной поверхности, то лучше взять саморез с крупной острой резьбой, которая обеспечивает плавное ввинчивание самореза в поверхность. Если соединение "гипсокартон — металл", применяют саморезы по металлу, которые имеют мелкую резьбу.
Монтаж гипсокартона
Монтаж гипсокартона
Продолжим ремонт квартир гипсокартоном своими руками. Выравниваем стены с помощью обшивки на каркасе.Размечаем на полу необходимое положение облицовки стены из гипсокартона, рассчитываем требуемое для монтажа количество ПС, отмечаем их положение, шаг может быть 600мм, 400мм, в зависимости от требуемых характеристик.
Переносим разметку с пола на стены и потолок. Можно отбить шнуркой, пользоваться отвесом и карандашом. Не забываем на все профили. что крепятся к стенам, полу, потолку и другим ограждающим конструкциям клеится демпферная лента!Крепим направляющие профили для гипсокартона к полу и потолку. Шаг крепления не более 100см, но на один профиль должно быть не менее трех креплений.
Монтаж гипсокартона. Облицовка С623
Порядок разметки для монтажа такой же, но добавляется разметка стены для установки прямых подвесов (более надежно крепить на “сапоги”), наносим вертикальные линии через требуемое расстояние, равное шагу стоечных профилей.И при помощи дюбель-гвоздей закрепляем прямые подвесы, с шагом не более 150см. В месте контакта со стеной на прямой подвес также наклеиваем уплотнительную ленту.
Направляющие профили ПН28/27 закрепляем на полу и на потолке, а в них вставляем ПП 60/27, которые при данном виде монтажа гипсокартона, являются стоечными.
Расстояние между саморезами в гипсокартоне на потолке. Монтаж непосредственно на потолок
Подшивка гипсокартона непосредственно к потолку в деревянном доме может осуществляться только при условии наличия сплошного щита из необрезной либо обрезной доски, ОСП, фанеры, которые крепятся к балкам снизу. Чтобы понять, как крепить гипсокартон к деревянному потолку, рекомендуется ознакомиться с такой технологией монтажа.
Первым делом необходимо проверить потолок на наличие существенных отклонений от горизонта, а также на предмет выступов, остальных дефектов. Если таковых не выявлено, то можно прикручивать плиты к дереву, не оставляя никаких зазоров и не используя обрешетки.
Чтобы закрепить отделочный материал, нужно использовать фосфатированные саморезы длиной 32-51 мм. Длина крепежных элементов определяется материалом потолочного щита. Их необходимо утапливать в поверхность плиты на один миллиметр, не более. Устанавливать ГКЛ правильнее в шахматном порядке, этот прием позволит избежать схождения углов смежных плит в одном месте.
Толщину плит следует выбирать, исходя из качества поверхности щита, к которому будет прикручиваться отделочный материал.
Если дощатый щит изготовлен из обрезной доски, то применяется стеновой ГКЛ с толщиной 12,5 мм, а для щита из фанеры или СИП-панелей – потолочные плиты с толщиной 9 мм.
Существующие размеры саморезов для крепления гипсокартона